概述
变压器是电力系统中最关键的设备之一,其运行状态直接关系到电力系统的安全与稳定,一旦发生故障,不仅会引起大规模停电带来巨大的经济损失甚至可能发生爆炸和起火,造成人员伤亡。为了提高电力系统运行的可靠性,减少故障及事故引起的经济损失,要定期对变压器进行定期检修。但是,采用定期检修方式使很多设备存在过修或失修的问题,造成巨大的资源浪费和安全隐患。
随着国家智能电网建设的稳步推进,变压器智能化也势在必行。变压器局部放电在线监测系统是为了及时了解变压器的运行状况,确保设备的安全运行,减少维修、试验的盲目性,提高变压器管理水平,减少资源浪费。系统可以实时监测变压器局部放电等重要技术指标,及时地采集故障前兆信息,通过专家诊断系统,综合判断变压器可能存在的隐患,提前预警,避免造成重大事故,减少经济损失和人员伤亡。
该系统可长期在高电压、高低温、强电磁干扰等恶劣环境中稳定运行。并可对变压器的各项技术参数实时显示、储存及远程传输,通过该系统内部的专家诊断系统对变压器的运行状态进行诊断,及时给用户提供决策依据。
原理介绍
l 局部放电超声波法监测原理
当变压器内部产生放电信号时,除产生放电脉冲电流沿容性回路传输外,还会同时激发出机械波(超声波)信号通过变压器油向四周辐射传播。虽然电力变压器的结构较为复杂,但是变压器的整个器身内充满了变压器油,而绕组、绝缘材料、支撑、夹件、引线等部件均浸在油中,由于变压器油为超声波的良好传播媒介,这为在箱壁外侧检测局放产生的超声信号提供了有力条件。所以,在变压器的箱壁外侧安放超声波传感器可以接收到内部较大的放电信号。
图1 局放超声波法监测原理图
l 脉冲电流法监测原理
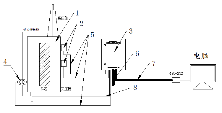
由电力变压器的结构所决定,其绕组除匝间电容外还与铁心之间存在几百甚至几千p F的分布电容,同时绕组与油箱间也存在上百p F的分布电容。当变压器的绕组等主绝缘回路中发生局部放电时,其产生的高频信号覆盖了从几十千赫兹到几十兆赫兹,甚至到千兆赫兹,由于几百皮法电容对于几百千赫兹以上的高频信号相当于通路,所以放电信号就会向所有与放电点有容性关系的回路中传播,其中一条回路必然包括铁心接地回路。所以在铁心接地线上安装高频电流传感器可有效接收变压器内放电信号。
图2 局放脉冲电流法监测原理图
系统介绍
变压器在线监测系统由后台在线监测主机、后台监测软件、现场集控单元及超声波传感器和高频电流互感器组成。

变压器局部放电在线监测系统示意图

局部放电监测系统网络拓扑示意图
NBi-6144x和NBi-633x及其子型号产品针对局部放电检测专门设计,具有以下显著特点:
l 具有多达8个模拟通道同步采集
l 可多模块扩展
l 专门的工频采集输入
l 具备实时数字信号处理能力
l 采用电磁屏蔽设计
l 支持光纤/RJ45以太网
l 支持RS485接口
l 可实现MODBUS协议
l 可扩展GPS模块
l 可自由组网,实现局部放电大数据云平台
l 高集成度,每通道成本低